Σάλος με το “βραχιολάκι” των εργαζομένων της Amazon
Το "έξυπνο" βραχιολάκι για τον έλεγχο των εργαζομένων της Amazon.

«Είναι εύκολο να δημηγορεί κανείς για τα εργασιακά ζητήματα, αλλά η πρόκληση είναι να υπάρχει ποιοτική εργασία κι όχι εργασία με το βραχιολάκι».
Με αυτή τη φράση σχολίασε ο Ιταλός πρωθυπουργός, κατά τη διάρκεια προεκλογικής ομιλίας του προς του εθελοντές του κόμματός του (Pd) στην Περιφέρεια του Λατίου (Ρώμη), την απόφαση του γίγαντα του ηλεκτρονικού εμπορίου Amazon, να εφαρμόσει το μέτρο της επίβλεψης και καθοδήγησης των κινήσεων των εργαζομένων της με ένα ‘έξυπνο βραχιολάκι’, που έχει δημιουργήσει σάλο στην Ιταλία.
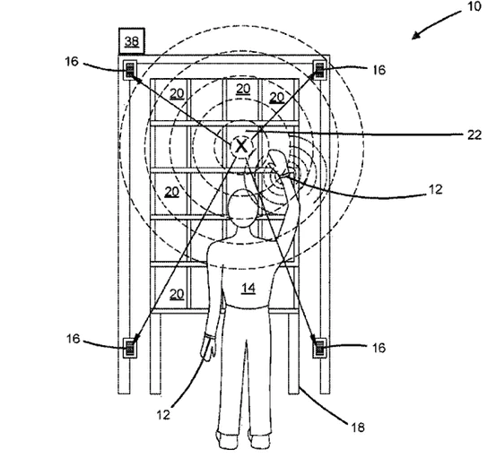
Η Amazon κατοχύρωσε την ευρεσιτεχνία (που επισήμως εγκρίθηκε την περασμένη Τρίτη, αλλά είχε κατατεθεί το 2016) για το έξυπνο ηλεκτρονικό βραχιόλι που θα μπορεί να παρακολουθεί με ακρίβεια πως και που τοποθετούν τα χέρια τους οι εργαζόμενοι και με μικρές δονήσεις, εάν κριθεί πως δεν είναι «σωστή» η κίνησή τους, θα τους καθοδηγεί προς την σωστή κατεύθυνση και θέση των προϊόντων, ελέγχοντας με αυτόν τον τρόπο όλες τις κινήσεις τους.
Η νέα τούτη τεχνολογική εφαρμογή έχει σκορπίσει μεγάλη ανησυχία καθώς αυξάνει την δυνατότητα της εταιρείας να ελέγχει καθ’ ολοκληρίαν τους εργαζομένους της, ενημερώνει η εφημερίδα La Repubblica.

Όπως σημειώνει στο σχετικό της άρθρο και η εφημερίδα Corriere della Sera, επικαλούμενη το GeekWire, «η Amazon έχει επαξίως κερδίσει ήδη τη φήμη της εταιρείας που μετατρέπει τους , πενιχρώς αμειβόμενους, εργαζόμενούς της σε ανθρώπινα ρομπότ που δουλεύουν στο πλευρό πραγματικών ρομπότ, εκτελώντας επαναληπτικές μηχανικές κινήσεις στο πακετάρισμα στον λιγότερο δυνατό χρόνο».
Το βραχιολάκι στόχο έχει να καταστήσει ακόμη πιο σύντομη την έρευνα και εντοπισμό από τους εργαζομένους του προϊόντος που βρίσκεται αποθηκευμένο στα καταστήματα της Amazon.
Η εταιρεία του Τζέφ Μπέζος επενδύει συνεχώς στην αυτοματοποίηση των διαδικασιών αυτών: πρόσφατα στο κατάστημα Amazon Go του Σιάτλ λειτουργεί χωρίς ταμεία και ο εντοπισμός των προϊόντων από τους πελάτες γίνεται μέσω μίας εφαρμογής App στο κινητό τους, που τους καθοδηγεί μέσα στο κατάστημα.
Η Amazon έχει βρεθεί στο επίκεντρο μεγάλης πολεμικής για τους ρυθμούς και τις συνθήκες εργασίας που εφαρμόζει. Οι εντατικοί ρυθμοί υπαγορεύονται από έναν αλγόριθμο και οι απαρέγκλιτοι στόχοι που τίθενται στους εργαζομένους, είναι φορές που δεν τους επιτρέπει να παρεκκλίνουν ούτε δευτερόλεπτο για να πάνε στην τουαλέτα.
Στα καταστήματα της Amazon στο Καστέλ Σαν Τζοβάνι στην Ιταλία, οι εργαζόμενοι είχαν πραγματοποιήσει απεργία με την συγκυρία της Black Friday στις 24 Νοεμβρίου του περασμένου έτους, διαμαρτυρόμενοι για τις συνθήκες εργασίας και τις ευτελείς αμοιβές. Μία δεύτερη απεργία των εργαζομένων της πραγματοποιήθηκε και στις 20 Δεκεμβρίου, καθώς η εταιρεία δεν προσήλθε στη διαδικασία διαιτησίας με τους εργαζομένους και το υπουργείο Εργασίας.

Ο σάλος που έχει δημιουργηθεί στην Ιταλία από την πρακτική της Amazon οδήγησε και τον Τζεντιλόνι να αναφερθεί ιδιαίτερα στο θέμα της ποιότητας της εργασίας κατά τη χθεσινή ομιλία του στη Ρώμη στην “Πόλη για την Άλλη Οικονομία” (Citta’ dell’ altra Economia), παρουσία του ανερχόμενου πρωταγωνιστή της κεντροαριστεράς και κυβερνήτη της Περιφέρειας του Λατίου Νικόλα Τζινγκαρέτι. «Ορίζοντας στην επόμενη φάση των μεταρρυθμίσεών μας θα πρέπει να είναι η εργασία και η ανάπτυξη που θα συμπεριλαμβάνει όλους», διακήρυξε ο πρωθυπουργός, συνάπτοντας τη δήλωσή του τούτη στο σχόλιο για την Amazon.
Όμως άμεση υπήρξε η αντίδραση και της Amazon, η οποία σε σημείωμά της που διένειμε στον Τύπο τονίζει «σε όλες τις χώρες όπου δραστηριοποιούμεθα σεβόμαστε με αυστηρότητα όλους τους κανονισμούς στον τομέα της εργασίας». Και τονίζει η εταιρεία πως «για τις ευρεσιτεχνίες οποίες απαιτούνται πολλά έτη για να εγκριθούν και δεν αντανακλούν αναγκαστικά τις τρέχουσες εξελίξεις στα προϊόντα και τις υπηρεσίες μας» και τα τελευταία 20 χρόνια ο όμιλος έχει εισάγει «διάφορες τεχνολογικές καινοτομίες για να υποστηρίξει τους εργαζόμενους μας στη διάρκεια του ωραρίου τους και για να καταστήσει πιο εύκολες και αποτελεσματικές τις διαδικασίες της εργασίας τους».
Πηγή: La Repubblica, Corriere della Sera / ΑΠΕ
